h44f46-16c swing fluorine lined check valve product usage
the h44f46-16c swing fluoroplastic check valve produced and sold by woci valve group is specially designed to control corrosive media. the surface of the valve body cavity is covered with a variety of fluoroplastic options, which has the characteristics of high strength and good corrosion resistance. it is applicable to different working temperatures and fluid pipelines to prevent one-way reverse opening and closing of media on various pipelines or equipment.
h44f46-16c swing fluorine lined check valve valve test
lining: edm testing and testing according to gb / t13927 standard nominal pressure: pn body: pn × 1.5 seal: pn × 1.1
h44f46-16c swing fluorine lined check valve main part material
upper body: cast iron, ductile iron, carbon steel body: cast iron, ductile iron, carbon steel lining: fluoroplastic valve flange : carbon steel fully fluorinated plastic
h44f46-16c swing fluorine lined check valve parts list
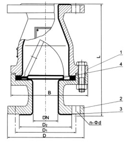
1, on the valve body, 2, the next valve body 3, the valve body lining 4, the main dimensions of the valve

| dn | pn | work pressure | l | d | d1 | d2 | n-фd | b | quality |
20 | 1.0 | 1.0 | 160 | 105 | 75 | 59 | 4-14 | 128 | |
25 | 160 | 115 | 85 | 68 | 4-14 | 128 | |||
32 | 180 | 140 | 100 | 78 | 4-18 | 150 | 4.5 | ||
40 | 200 | 150 | 110 | 88 | 4-18 | 160 | 7 | ||
50 | 230 | 165 | 125 | 102 | 4-18 | 178 | 8 | ||
65 | 290 | 185 | 145 | 122 | 4-18 | 205 | 10 | ||
80 | 310 | 200 | 160 | 133 | 8-18 | 230 | 18 | ||
100 | 350 | 220 | 180 | 158 | 8-18 | 255 | 24 | ||
125 | 400 | 250 | 210 | 184 | 8-18 | 305 | 30.5 | ||
150 | 480 | 285 | 240 | 212 | 8-22 | 345 | 47.5 | ||
200 | 500 | 340 | 295 | 268 | 8-22 | 415 | 63.5 | ||
250 | 0.6 | 0.6 | 550 | 395 | 350 | 320 | 12-22 | 495 | 96.5 |
300 | 0.4 | 620 | 445 | 400 | 370 | 12-22 | 540 | 14 | |
350 | 698 | 505 | 460 | 430 | 16-22 | 620 | 244 | ||
400 | 787 | 565 | 515 | 482 | 16-22 | 680 |