h42w stainless steel vertical check valve product description
h42w stainless steel vertical check valve produced and sold by woci valve group is normally closed, due to the pipeline inlet medium pressure, and overcome the spring resistance to open the valve. when the inlet side of the medium pressure is lower than the outlet end, the spring will push the spool to the valve seat to close the valve to prevent the media countercurrent, it played the role of check. the valve due to the use of spring support spool, so the use of vertical or horizontal installation can be installed.
h42w stainless steel vertical check valve material list
| model | pn | working pressure / mpa | applicable temperature / ℃ | suitable media | material | ||
| body, disc | pilot valve | sealing surface | |||||
| h42w-16p | 16 | 1.6 | ≤200 | corrosive media | chrome nickel-titanium stainless steel | chrome nickel-titanium stainless steel | chrome nickel-titanium stainless steel |
| h42w-25r | 25 | 2.5 | weak corrosive medium | chromium nickel molybdenum titanium stainless steel | chromium nickel molybdenum titanium stainless steel | chromium nickel molybdenum titanium stainless steel | |
h42w stainless steel vertical check valve performance specifications
| technical parameters | pressure level | ||||||||||
| 16 | 20 | 25 | 32 | 35 | 40 | 45 | 50 | 60 | 70 | ||
| working pressure (mpa) | ≤16 | ≤20 | ≤25 | ≤32 | ≤35 | ≤40 | ≤45 | ≤50 | ≤60 | ≤70 | |
| test pressure (m) | strength | 24 | 30 | 37.5 | 48 | 52.5 | 60 | 67.5 | 75 | 90 | 105 |
| seal | 17.6 | 22 | 27.5 | 35.2 | 38.5 | 44 | 49.5 | 55 | 66 | 77 | |
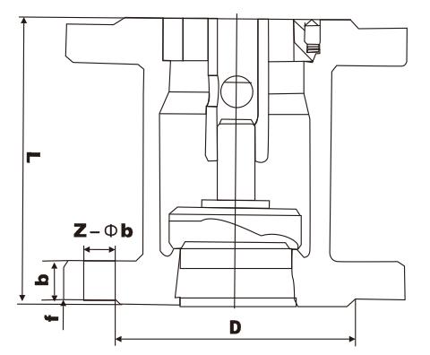
h42w stainless steel vertical check valve main dimensions 1.6mpa

| model | dn | the main connection size size | |||||||||
| l | d | d 1 | d 2 | d 6 | b | f | f 1 | z-φd | h | ||
| h42w-16ph42w-16r | 40 | 200 | 145 | 110 | 85 | - | 16 | 2 | - | 4-18 | 95 |
| 50 | 230 | 160 | 125 | 100 | - | 16 | 2 | - | 4-18 | 105 | |
| 65 | 290 | 180 | 140 | 120 | - | 18 | 2 | - | 4-18 | 120 | |
| 80 | 310 | 195 | 165 | 135 | - | 20 | 3 | - | 8-18 | 130 | |
| 100 | 350 | 215 | 180 | 155 | - | 20 | 3 | - | 8-18 | 140 | |
| 125 | 400 | 245 | 210 | 185 | - | 22 | 3 | - | 8-12 | 155 | |
| 150 | 480 | 280 | 240 | 210 | - | 24 | 3 | - | 8-23 | 180 | |
| 200 | 600 | 335 | 295 | 265 | - | 26 | 3 | - | 12-23 | 215 | |
2.5mpa
| model | dn (mm) | size (mm) | ||||||||
| l 1 | l 2 | l 3 | d | d1 | d2 | b | f | z-φ | ||
| h42w-25ph42w-25r | 15 | - | 85 | 85 | 95 | 65 | 45 | 16 | - | 4-φ14 |
| 20 | - | 95 | 95 | 105 | 75 | 55 | 16 | - | 4-φ14 | |
| 25 | - | 100 | 105 | 115 | 85 | 65 | 16 | - | 4-φ14 | |
| 32 | - | 105 | 150 | 135 | 100 | 78 | 16 | - | 4-φ14 | |
| 40 | - | 115 | 160 | 145 | 110 | 88 | 18 | - | 4-φ14 | |
| 50 | 140 | 125 | 170 | 160 | 125 | 100 | 20 | 3 | 4-φ14 | |
| 65 | 160 | 145 | 180 | 180 | 145 | 120 | 22 | 3 | 8-φ18 | |
| 80 | 185 | 155 | 200 | 195 | 160 | 135 | 22 | 3 | 8-φ18 | |
| 100 | 210 | 210 | 210 | 230 | 190 | 160 | 24 | 3 | 8-φ23 | |
| 125 | - | 275 | 275 | 275 | 220 | 188 | 28 | 3 | 8-φ25 | |
| 150 | 300 | 225 | 300 | 300 | 250 | 218 | 30 | 3 | 8-φ25 | |
| 200 | 380 | 380 | 380 | 360 | 310 | 278 | 34 | 3 | 12-φ25 | |